能源管理軟硬件服務商,性價比之選 計量點滴智慧
用途:
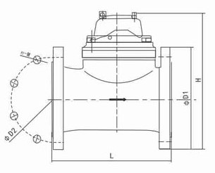
計量流經自來水管道中水體機總量的流量測量儀表。基表為可拆卸水平螺翼式/水平旋翼式干式水表。
特點:
1.直接讀取字輪數據,五累計誤差,不受抖動影響,基本可以實現所謂的“0”誤差抄表讀數。
2.低功耗,內部不設電源,平時工作也不耗電,只有讀數的瞬間供電。
3.智能化電子單元完全密封在計數器中,有效避免外界水、濕氣的侵蝕。
4.采用先進的數據編碼和校驗方式,通訊可靠。
5.采用總線方式,安裝簡單,布線方便。后期維護工作相對較少。
6.與上位機系統可以靈活組網,可自動遠程抄表,也可以人工集中抄表。
使用標準:
GB/T 778 ISO 4064
使用條件
溫度等級:T30/T50/T90
壓力等級:MAP16 MAP10
安裝環境:B類
電磁環境:E1
壓力損失等級:ΔP63
更大允許誤差
a、從包括最小流量(Q1)在內到不包括分界流量(Q2)的低區中的更大允許誤差是±5%
b、從包括分界流量(Q2)在內到包括過載流量(Q4)的高區中的更大允許誤差是±2%(熱水表±3%)






