能源管理軟硬件服務商,性價比之選 計量點滴智慧
用途:
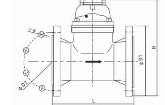
計量流經自來水管道中水體機總量的流量測量儀表。
特點:
1.傳動阻力小,流通能力大,防堵塞,抗污能力強
2.水平旋翼干式,磁耦合傳動
3.計數器采用真空密封,防冷凝霧化,可長期保持讀數清晰。比濕式水表更耐低溫,機芯不過水,在寒冷環境不易被凍爆
4.采用可拆卸結構,便于安裝與維修
5.測量機構通用性強
6.根據客戶要求,可以提供發訊裝置(雙干簧管|霍爾發訊),可制作刷卡預付費、有線遠傳、無線遠傳等功能,采樣位置:DN50-200mm 1000L/P;DN250-300 10000L/P、1000L/P
使用標準:
GB/T 778\ISO 4064
使用條件
溫度等級:T30/T50/T90
壓力等級:MAP16 MAP10
壓力損失等級:ΔP63
更大允許誤差
a、從包括最小流量(Q1)在內到不包括分界流量(Q2)的低區中的更大允許誤差是±5%
b、從包括分界流量(Q2)在內到包括過載流量(Q4)的高區中的更大允許誤差是±2%






